长辈版
无障碍
专题首页
专题首页
政策解读
回应关切
在线办事
依申请公开
田家庵区
谢家集区
潘集区
八公山区
寿县
凤台县
大通区
首页
> 田家庵区人民政府
>
热点信息
>
城乡建设
>
行政许可
索
引
号:
003056771/202403-00021
信息分类:
行政许可
内容分类:
发文日期:
2024-08-26 14:52
发布机构:
田家庵区人民政府
成文日期:
生效时间:
废止时间:
名
称:
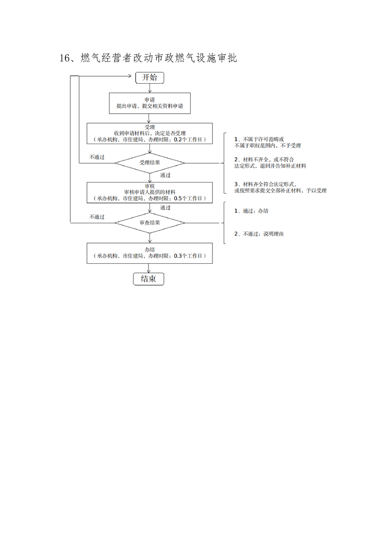
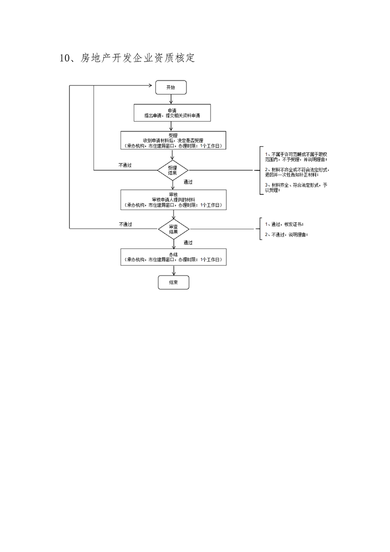
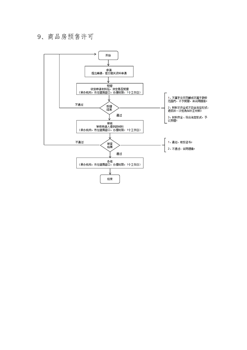
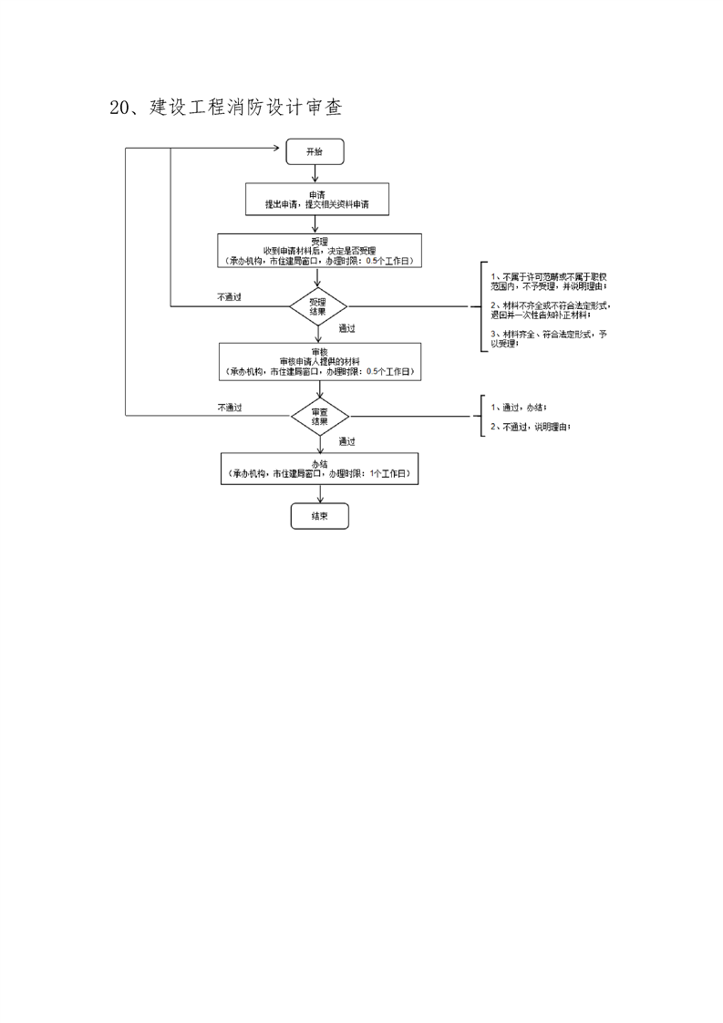
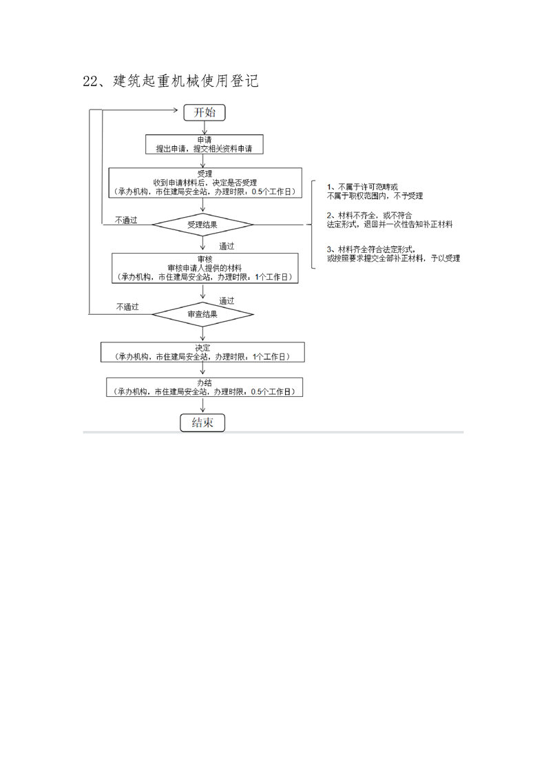
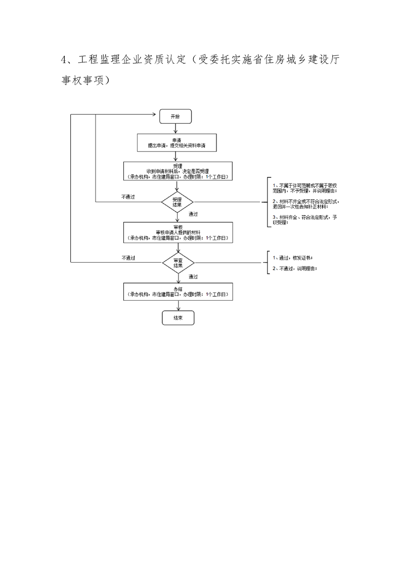
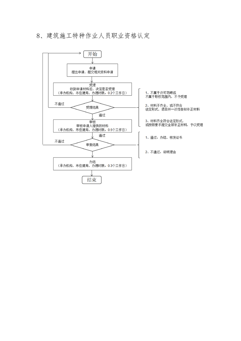
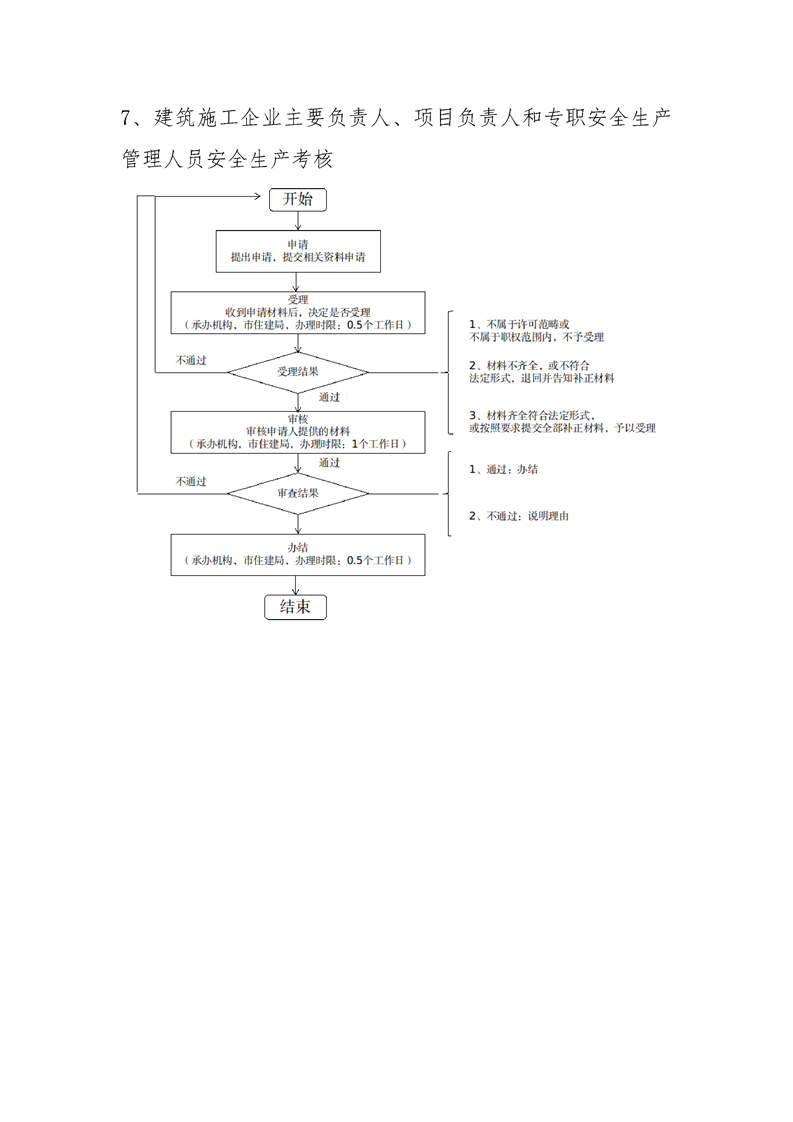
市住房和城乡建设局行政许可类流程图
点
击
量:
文
号:
关
键
词:
索
引
号:
003056771/202403-00021
信息分类:
行政许可
内容分类:
发文日期:
2024-08-26 14:52
发布机构:
田家庵区人民政府
成文日期:
生效时间:
废止时间:
名
称:
市住房和城乡建设局行政许可类流程图
点
击
量:
文
号:
关
键
词:
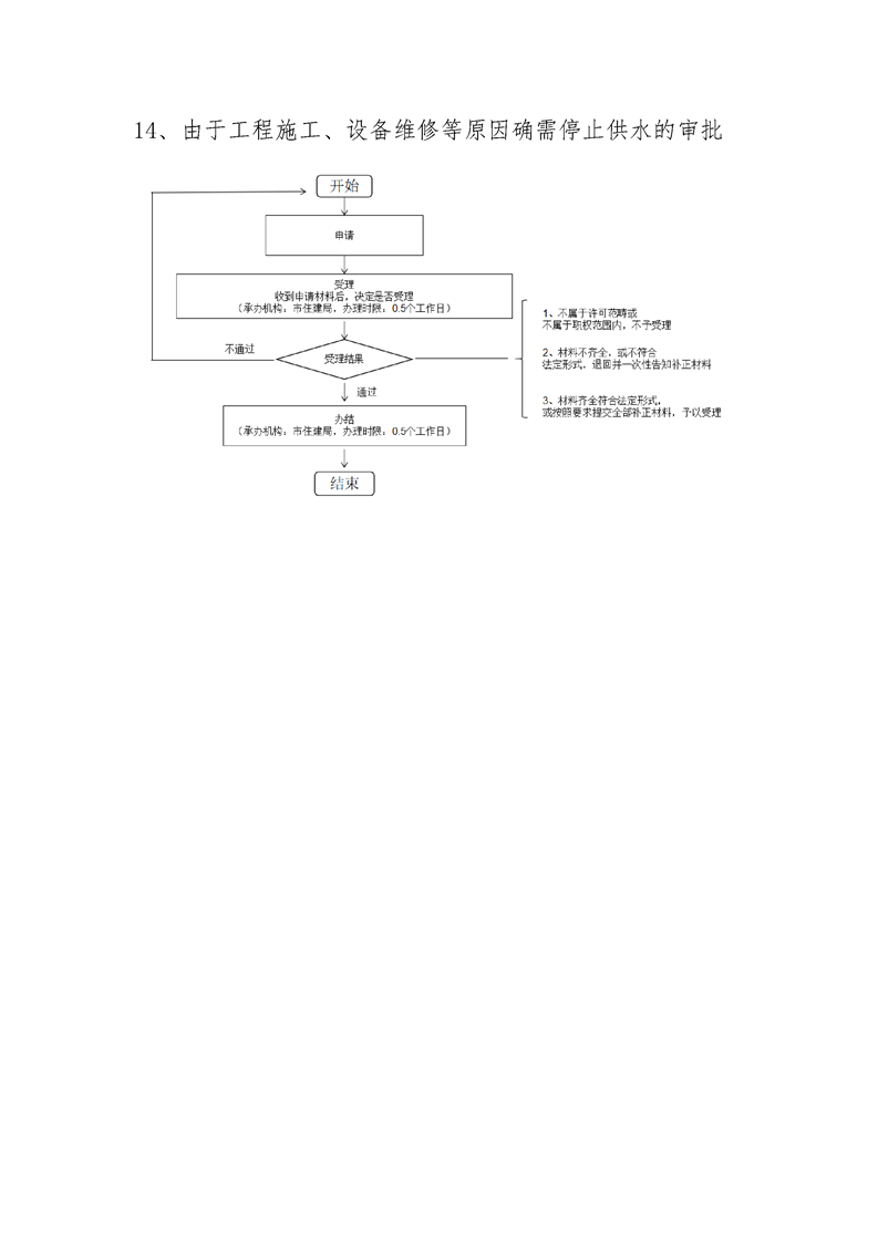
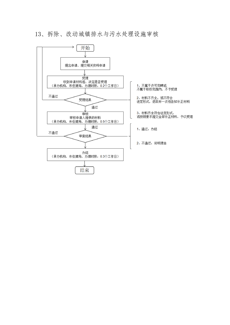
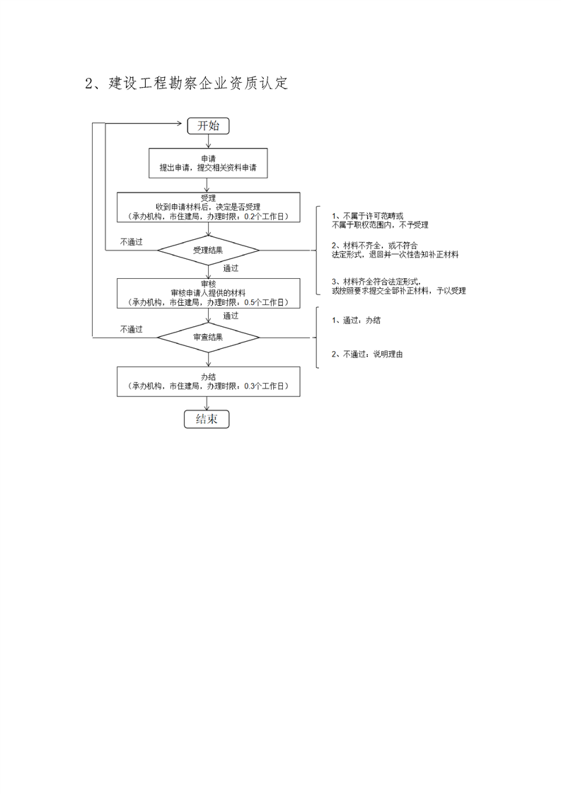
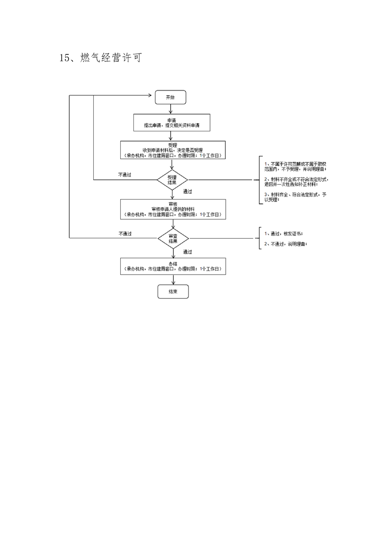
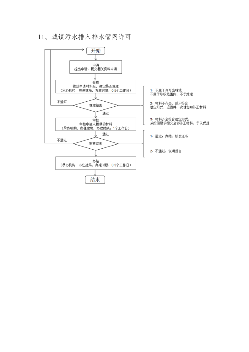
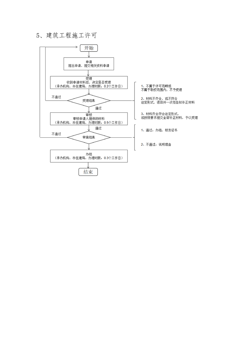
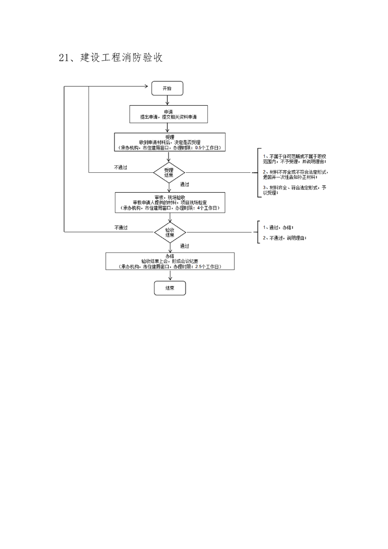
市住房和城乡建设局行政许可类流程图
发布时间:2024-08-26 14:52
来源:田家庵区人民政府
【字体:
大
中
小
】
作者:沈雪
扫一扫在手机打开当前页
打印本页
关闭窗口