淮南市住房和城乡建设局行政许可类流程图






















| 序号 | 权力名称 | 权利类型 | 承办科室 | 监督电话 |
| 1 | 建筑业企业资质认定 | 行政许可 | 行政审批服务科 | 0554-5368165 |
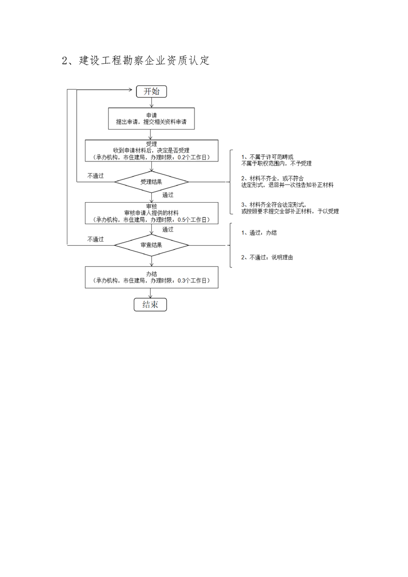
| 2 | 建设工程勘察企业资质认定 | 行政许可 | 建筑节能与科技科 | 0554-5366343 |
| 3 | 建设工程设计企业资质认定 | 行政许可 | 建筑节能与科技科 | 0554-5366343 |
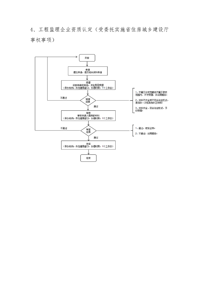
| 4 | 工程监理企业资质认定 | 行政许可 | 行政审批服务科 | 0554-5368165 |
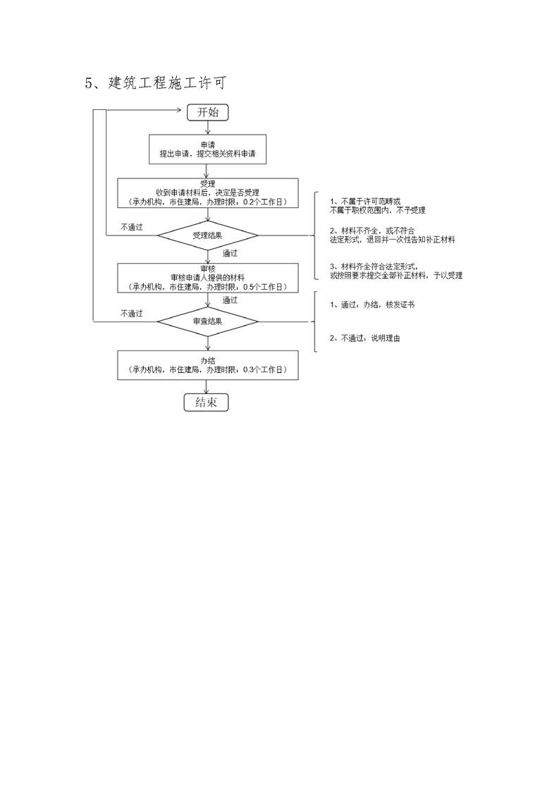
| 5 | 建筑工程施工许可 | 行政许可 | 行政审批服务科 | 0554-5368165 |
| 6 | 建筑施工企业安全生产许可 | 行政许可 | 行政审批服务科 | 0554-5368167 |
| 7 | 建筑施工企业主要负责人、项目负责人和专职安全生产管理人员安全生产考核 | 行政许可 | 行政审批服务科 | 0554-5368166 |
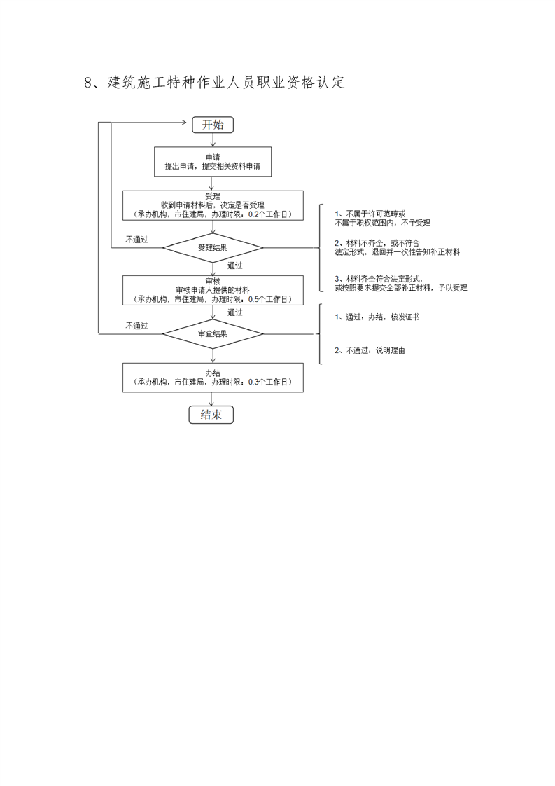
| 8 | 建筑施工特种作业人员职业资格认定 | 行政许可 | 行政审批服务科 | 0554-5368166 |
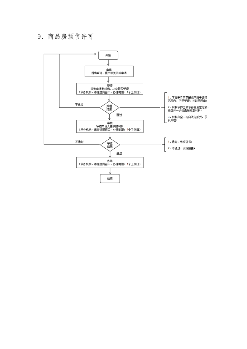
| 9 | 商品房预售许可 | 行政许可 | 行政审批服务科 | 0554-5368168 |
| 10 | 房地产开发企业资质核定 | 行政许可 | 行政审批服务科 | 0554-5368168 |
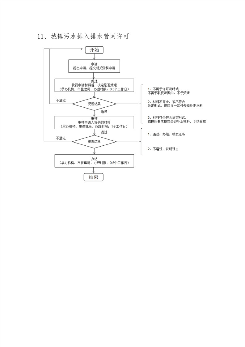
| 11 | 城镇污水排入排水管网许可 | 行政许可 | 城市建设科 | 0554-5361209 |
| 12 | 拆除、改动、迁移城市公共供水设施审核 | 行政许可 | 城市建设科 | 0554-5361209 |
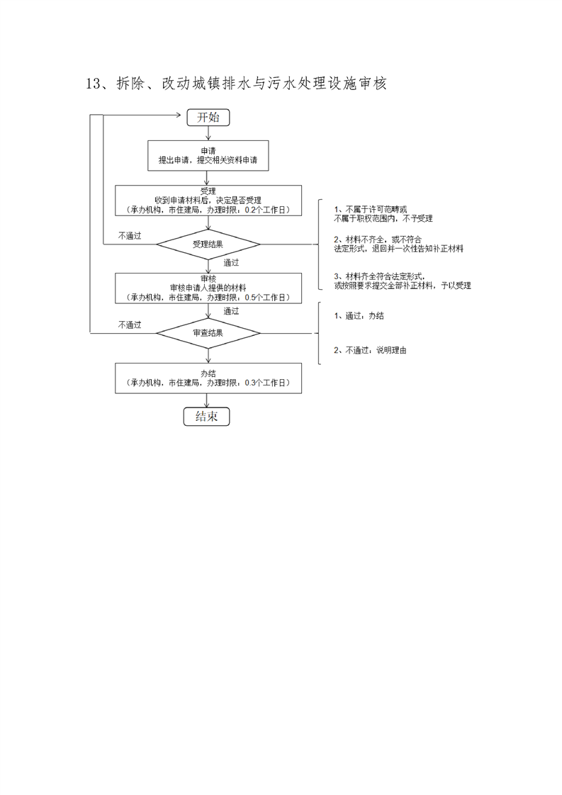
| 13 | 拆除、改动城镇排水与污水处理设施审核 | 行政许可 | 城市建设科 | 0554-5361209 |
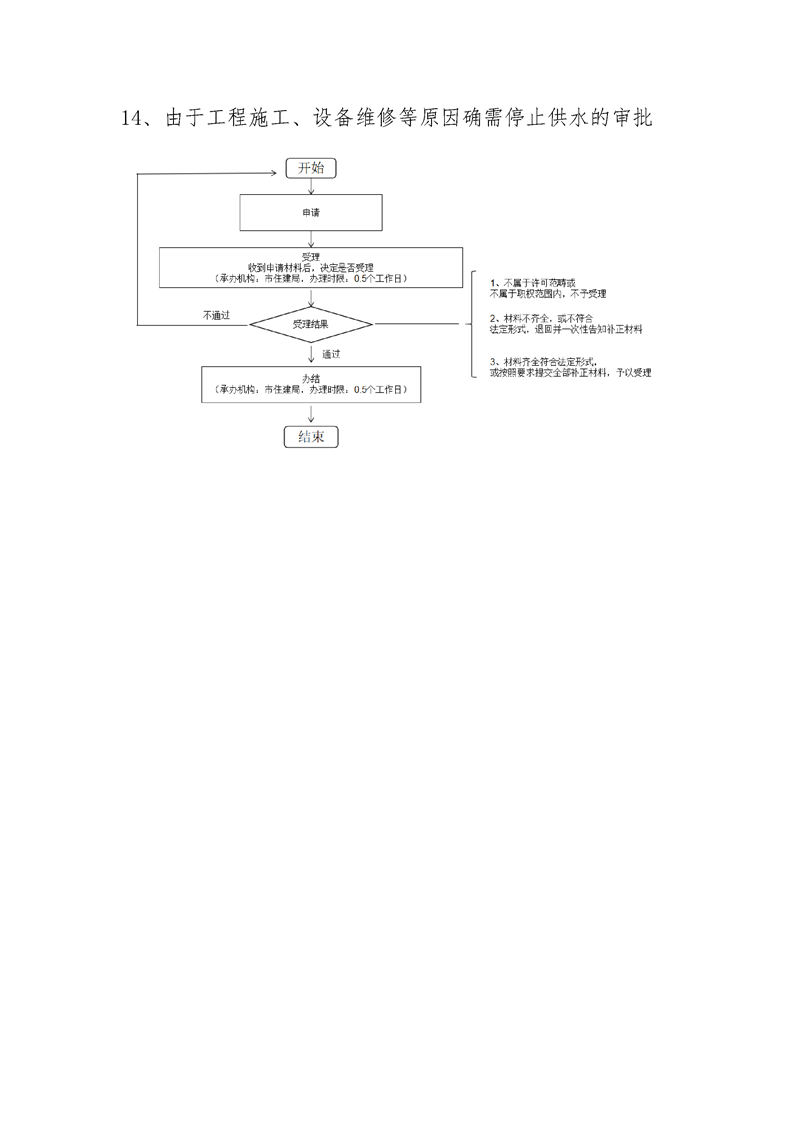
| 14 | 由于工程施工、设备维修等原因确需停止供水的审批 | 行政许可 | 城市建设科 | 0554-5361209 |
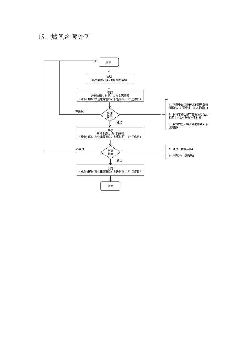
| 15 | 燃气经营许可 | 行政许可 | 燃气热力监管科 | 0554-6655079 |
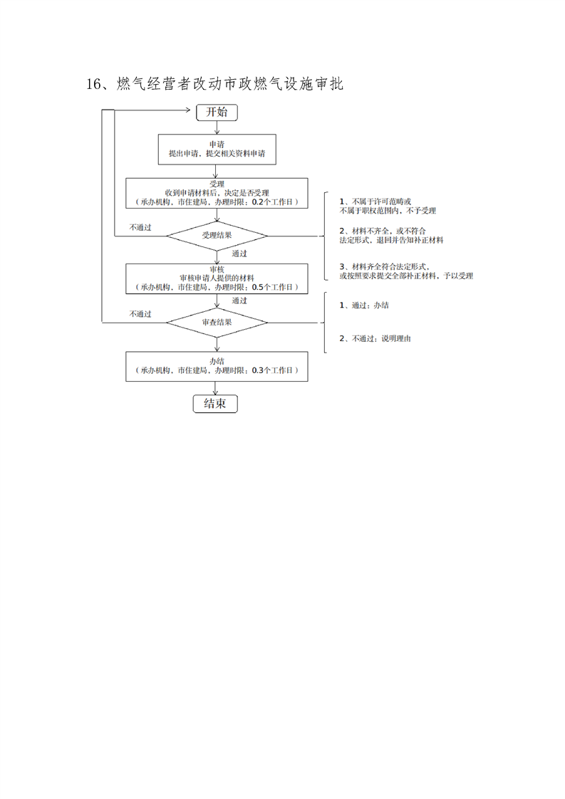
| 16 | 燃气经营者改动市政燃气设施审批 | 行政许可 | 燃气热力监管科 | 0554-6655079 |
| 17 | 历史建筑实施原址保护审批 | 行政许可 | 村镇建设科 | 0554-6658206 |
| 18 | 历史文化街区、名镇、名村核心保护范围内拆除历史建筑以外的建筑物、构筑物或者其他设施审批 | 行政许可 | 村镇建设科 | 0554-6658206 |
| 19 | 历史建筑外部修缮装饰、添加设施以及改变历史建筑的结构或者使用性质审批 | 行政许可 | 村镇建设科 | 0554-6658206 |
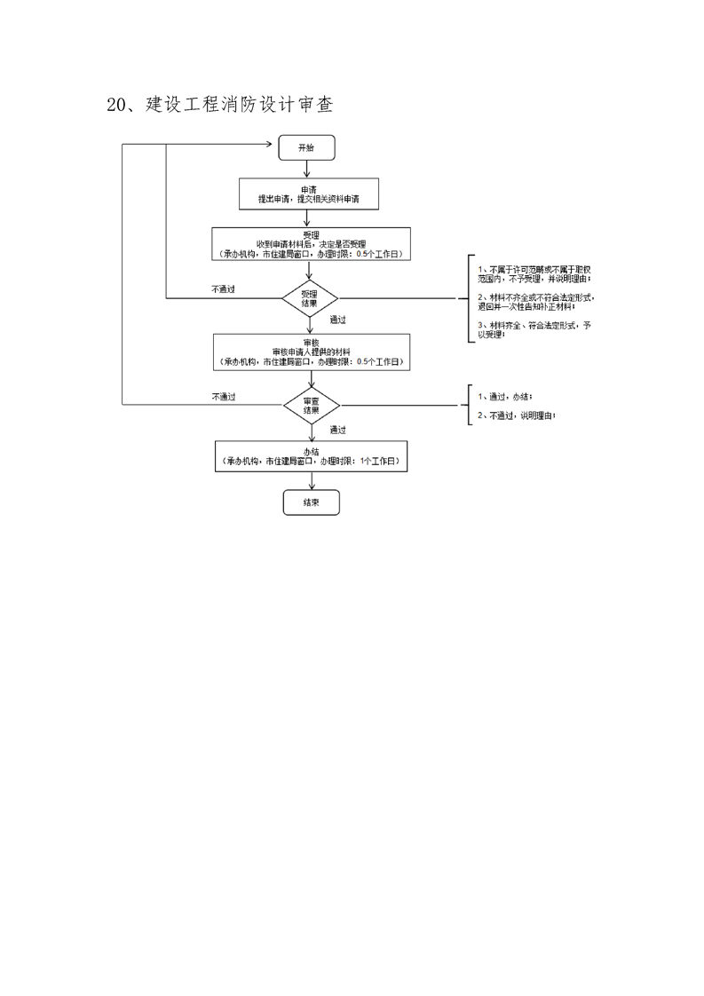
| 20 | 建设工程消防设计审查 | 行政许可 | 质量安全监督科 | 0554-5361233 |
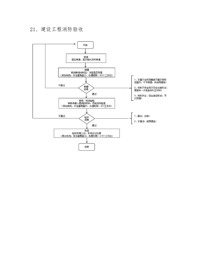
| 21 | 建设工程消防验收 | 行政许可 | 质量安全监督科 | 0554-5361233 |
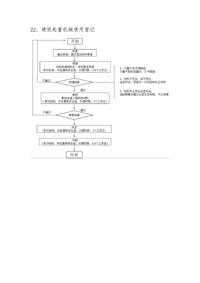
| 22 | 建筑起重机械使用登记 | 行政许可 | 行政审批服务科 | 0554-5315218 |
作者:沈雪
扫一扫在手机打开当前页
专题首页
政策解读
回应关切
在线办事
依申请公开
